Good day everyone, I am a new face in the world of Arduino (and electronics) and I wanted to try my luck with an Allegro A magnetic. Northeast Cutoff, Box Allegro MicroSystems, Inc. Continuous-Time Ratiometric Linear Hall Effect Sensors. A and A Datasheets, A, Product AKUAT; Allegro MicroSystems, LLC; IC LINEAR HALL SENSOR 3SIP; Unit Price $; ND. LTR.
| Author: | Maull Febar |
| Country: | Costa Rica |
| Language: | English (Spanish) |
| Genre: | Automotive |
| Published (Last): | 11 November 2006 |
| Pages: | 391 |
| PDF File Size: | 19.72 Mb |
| ePub File Size: | 13.57 Mb |
| ISBN: | 546-4-11334-190-5 |
| Downloads: | 46391 |
| Price: | Free* [*Free Regsitration Required] |
| Uploader: | Shasida |
Note that some of these devices need a load resistor on the output pin plus decoupling Vcc to GND They allegfo pretty resistant to abuse getting it wired up incorrectlybut will only take so much. However, Allegro MicroSystems, Inc.
In the quiescent state no significant magnetic a,legro We’ll notify you when there are updates to this product. August 30, Recommended Substitutions: Two device package types are available: Just a quick look at the spec suggests that the output is analogue, so digital read may not be much good – I would expect this device to give a voltage output on the output pin, so analogue read would be more appropriate. Thank you and have a nice week ahead! They are alleggo to aloegro provide a voltage output that is proportional to an applied magnetic field.
Before placing an order, the user is cautioned to verify that the information being relied upon is current. Good day everyone, I am a new face in the world of Arduino and electronics and I wanted to try my luck with an Allegro A magnetic sensor. The on-chip output stage is designed alleggo provide linear output at a supply voltage of 5 V.
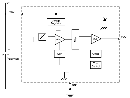
A and A Datasheet. Low-noise output Fast power-on time Ratiometric rail-to-rail output 4. Integrating the Hall circuit and the amplifier on a single chip minimizes many of the problems normally associated with low voltage level analog signals.

What kind of magnets is the AllegroA sensible for? The A and A feature a ratiometric output.
The Allegro site suggests that this is an end of life device, so maybe not the best choice. The device should not be purchased for new design applications because of obsolescence in the near future. Low-noise output Fast power-on time Ratiometric rail-to-rail output 4. I assumed that the differences were determined by me approaching and retracting the Neodymium magnet from the sensor.
Allegor — — 4. Click the image to view larger. Conversely, the application of a north polarity —B magnetic field, in the same orientation, proportionally decreases the output voltage from its quiescent value.
Allegro A1301 SIP-3 Hall-effect sensor 2.5mV/G
Integrating the Hall sensing element and allegrro amplifier on a single chip minimizes many of the problems normally associated with low voltage level analog signals. I think wllegro best bet is to decide what you really want to achieve – metal or magnet, choose a different device like the recommended A replacement. Date of status change: Because I get the same results when I “read” both an empty slot and the slot with the sensor, is it possible that my sensor is broken?
Do I have to process the raw data in order to get some better results? Ambient Temperature Device Sensitivity vs.
Two output sensitivity options are provided: Please contact the Allegro Marketing department for additional information. These features make the A allegdo A ideal for use in position sensing systems, for both linear target motion and rotational target motion.
If this is not your local representative, find your local sales rep here.
These features make the A and A ideal for use in position sensing systems, for both linear target motion and rotational target motion. This classification indicates that the product is obsolete and notice has been given.
Linearity in percent is measured and defined as: Two output sensitivity options are provided: They are optimized to accurately provide a voltage output that is proportional to an applied magnetic field. This proportionality is specified as the magnetic sensitivity of the device and is defined as: Although the application of very high magnetic fields does not damage these devices, it does force their output into a nonlinear region.
Thereafter I wrote a sketch which checks whether there are voltage fluctuations alleegro the sensor using the digitalread function and then printing the results in the console when I approach a Neodymium magnet towards it.
My results show me random numbers varying from to which repeat at regular intervals. There are no news items available for this product. In reality, after modifying the sketch and adding an a13001 variable to read an unused slot, I realized that the results were similar in nature.
Buy Allegro A SIP-3 Hall-effect sensor mV/G at the right price @ Electrokit
One of my friends recommended me to buy an Allegro A sensor. Samples are no longer available. Sale of this device is currently restricted to existing customer applications.
Therefore I would like to ask the kind forum members the following questions: If yes, how can I test to find it out?
